Apple Secondary-Backlight Indicator Patent
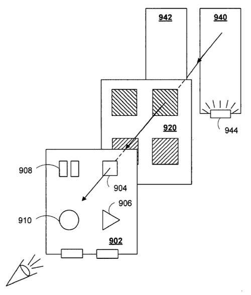
An Apple patent describing a secondary system of backlighting that would be used to give general status updates on an otherwise locked device has been published by the FCC. The patent, titled "Secondary backlight indicator for portable media devices" and filed on May 18th 2007, suggests using a double-layered backlight in an iPod or iPhone the rearmost layer of which would show "new mail", "paused" and other status details by shining through cut-outs in the primary backlight.
The patent details a scenario where an inactive (though powered on) device can alert the user to status changes – such as the arrival of a new SMS message – by using a low-power backlight, more energy efficient than the primary backlight. Though the LCD display layer would still be powered off, the secondary backlight would project icons onto it through cut-outs in the primary backlight layer.
These icons could change color and/or flash, depending on the secondary backlight and the user's preference. Patent author Michael Rosenblatt suggests the system as an alternative to current status indicators, such as LEDs, which require "extra assembly of packaging considerations" and can spoil the device's aesthetic appeal.
As ever, there's no word on whether this patent will ever reach fruition in a production design.
[via Electronista]


