Microsoft Courier-Style Pen & Touch Patent Application Filed
Microsoft's Courier project, which endeared itself to tablet-philes with its promise of dual-displays and an innovative pen-and-finger interface, but then was cruelly axed before launch, keeps spawning patent applications. The latest – Bimodal Touch Sensitive Digital Notebook – describes the different ways in which two types of touchscreen input, using fingers and a more precise digital stylus, could be implemented for better control of a slate.
Basically, while Apple would have it that any need for a stylus means the interface designers have failed, Microsoft is taking a different approach. They seemingly recognize that much general control is indeed suited to "blunt" fingers, but that there's still a place for an accurate active stylus, for instance in text entry, editing and precise selection. The company's Microsoft Research arm has previously shown a video demo of how that interaction could work.
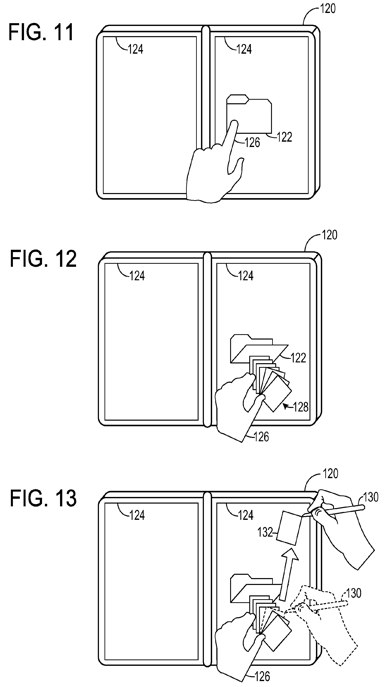
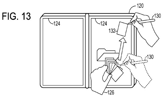
One such combined gesture illustrated in the patent application shows a user spreading a selection of files with their fingertips and then drawing out individual documents using the pen. There's also hovering support, which fingertip interfaces – aside from some concepts we've seen – don't have. As to whether Courier might ever be resurrected, that seems unlikely; however, we still hold out hope that Microsoft could release a Courier-style pen-and-stylus centric OS build for the growing number of tablet producing OEMs.
[via WMPowerUser]






